AR-1T11 (AR-YCFP21)
Доступен для скачивания
краткий каталог продукции:
Клапан соленоидный нормально закрытый прямого действия с диафрагмой AR-1T11 (AR-YCFP21) предназначен для управления потоком рабочей среды в трубопроводе
Особенности:
Модификации:
Расшифровка обозначения клапана AR-1T11-3-1/8-XYZ:
AR-1T11 – модель клапана.
3 – диаметр условного прохода в мм.
1/8 – размер резьбы в дюймах.
X – присоединение: G – трубная резьба.
Y – материал корпуса: P – PTFE.
Z – материал уплотнения: P – PTFE.
Версия: 2025-10-29-СДГ
Особенности:
- Клапан для агрессивных сред, в том числе 90% раствора серной или соляной кислоты при температурах до +70°С
- Изолированная от рабочей среды диафрагма
- Срабатывание при нулевом давлении
- Компактный размер
Для защиты клапана от попадания инородных частиц необходима установка фильтра механической очистки перед входным отверстием соленоидного клапана
Принцип действия и область применения:
Технические характеристики:
Нормально закрытый соленоидный клапан – это магнитный клапан, в котором закрытое положение сохраняется, если управляющее напряжение на его индукционную катушку не подается. При подаче напряжения на катушку нормально закрытый клапан открывается и пропускает через себя поток рабочей среды. При отключении управляющего напряжения этот клапан автоматически закрывается и перекрывает поток рабочей среды в трубопроводе. При обрыве провода управляющего напряжения клапан будет закрыт.
В большинстве случаев подходит для эксплуатации в системах водоснабжения, теплоснабжения, вентиляции и пневмоуправления. Особенно актуально применение данного типа клапана, когда клапан должен быть закрыт большую часть времени либо когда он обязательно должен быть закрыт при отключении электропитания системы.
| Параметр
| Значение
|
| Рабочая среда | Слабые и сильные кислоты и щелочи |
| Материал | Корпуса: PTFE
Уплотнения: PTFE |
| Температура рабочей среды | −20...+70°С |
| Рабочее давление | 0...0,4 МПа |
| Диаметр условного прохода | 3 мм
|
| Присоединение | Резьбовое G⅛", G¼"
|
| Катушка | Y82B, IP54
|
| Питание | ~220 В, ~110 В, ~24 В
=24 В, =12 В |
| Мощность
| 35 ВА (AC), 30 Вт (DC)
|
Модификации:
| Модель | Ду, мм | Kv, м³/ч | Присоединение | Pmin, МПа | Pmax, МПа | Вес, г
|
| AR-1T11-3-1/8-GPP | 3 | 0,09
| ⅛" | 0,0
| 0,4 | 250
|
| AR-1T11-3-1/4-GPP | ¼"
|
AR-1T11 – модель клапана.
3 – диаметр условного прохода в мм.
1/8 – размер резьбы в дюймах.
X – присоединение: G – трубная резьба.
Y – материал корпуса: P – PTFE.
Z – материал уплотнения: P – PTFE.
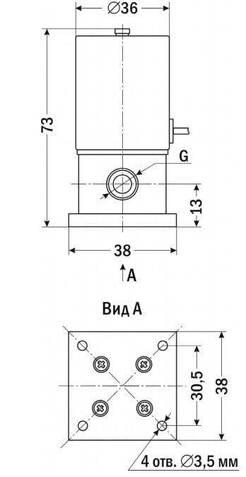
| Габаритные размеры |
|
Версия: 2025-10-29-СДГ
| Документ | Дата обновления |
| Паспорт на YCFP21 | 07.03.2025 |