ПК23-1
Доступен для скачивания
краткий каталог продукции:
Пневматический клапан нормально закрытый одностороннего действия с поршнем ПК23-1 предназначен для управления потоком рабочей среды в трубопроводе
Особенности:
В большинстве случаев подходит для эксплуатации в системах водоснабжения, теплоснабжения, вентиляции и пневмоуправления. Особенно актуально применение этого типа клапана, когда клапан должен быть закрыт большую часть времени либо когда он обязательно должен быть закрыт при снятии управляющего давления.Технические характеристики:
Модификации:
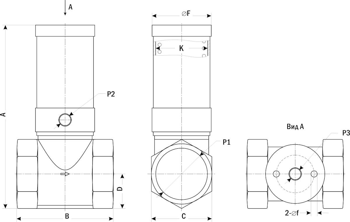
Расшифровка обозначения на примере клапана ПК23-1-025х015 XYZ:
ПК23 – модель клапана.
1 – тип клапана: одностороннего действия.
025 – внутренний диаметр привода.
015 – Ду, мм (диаметр условного прохода).
X – присоединение: G – трубная резьба.
Y – материал корпуса: B – латунь.
Z – материал уплотнения: P – PTFE.
Версия: 2026-03-19-СДГ
Особенности:
- Клапан нормально закрытый одностороннего действия с пружиной
- Работа при высоких температурах до +200°C
- Пневмопривод в комплекте
- Срабатывание при нулевом давлении
- Плавное открытие/закрытие клапана с защитой трубопровода от гидравлических ударов
- Долгий срок службы
- Параметры рабочего давления приведены для установки клапана по направлению потока. При установке в обратном направлении максимальное рабочее давление снизится, и будет необходимо более высокое управляющее давление
- Для защиты клапана от попадания инородных частиц необходима установка фильтра механической очистки перед входным отверстием клапана
- Для герметизации резьбовых металлических соединений рекомендуется использование анаэробных герметиков
В большинстве случаев подходит для эксплуатации в системах водоснабжения, теплоснабжения, вентиляции и пневмоуправления. Особенно актуально применение этого типа клапана, когда клапан должен быть закрыт большую часть времени либо когда он обязательно должен быть закрыт при снятии управляющего давления.Технические характеристики:
| Параметр
| Значение
|
| Рабочая среда | Пар, воздух, инертные газы, вода, горячая вода, масла |
| Материал | Корпуса клапана: латунь
Корпуса привода: алюминий Уплотнения: PTFE |
| Температура рабочей среды клапана | −60...+200°C |
| Рабочее давление среды | 0...0,8 МПа |
| Диаметр условного прохода | 15...50 мм
|
| Присоединение | Резьбовое G½"...G2" |
| Управляющая среда
| Воздух, нейтральные газы
|
| Управляющее давление
| 0,4...0,8 МПа
|
| Присоединение воздуховодов (порта подачи упр. давления и порта выхлопа) | Резьбовое G⅛"
|
| Обозначение | Ду,
мм | Дэф,
мм |
Внутр.
диаметр привода, мм
| Kv,
м³/ч | Присоединение | Вес, г | ||||||
| Клапана
P1 | Порта упр.
давления P2 | Порта
выхлопа P3 | ||||||||||
| ПК23-1-025х015 GBP | 15 | 13 | 25 | 4 | ½" |
⅛"
|
⅛"
| 210 | ||||
| ПК23-1-025х020 GBP | 20 | 16 | 25 | 5 | ¾" | 289 | ||||||
| ПК23-1-032х025 GBP | 25 | 22 | 32 | 10 | 1" | 478 | ||||||
| ПК23-1-040х032 GBP | 32 | 27 | 40 | 20 | 1¼" | 790 | ||||||
| ПК23-1-050х040 GBP | 40 | 33 | 50 | 25 | 1½" | 1162 | ||||||
| ПК23-1-063х050 GBP | 50 | 43 | 63 | 40 | 2" | 1724 | ||||||
ПК23 – модель клапана.
1 – тип клапана: одностороннего действия.
025 – внутренний диаметр привода.
015 – Ду, мм (диаметр условного прохода).
X – присоединение: G – трубная резьба.
Y – материал корпуса: B – латунь.
Z – материал уплотнения: P – PTFE.
| Габаритные размеры |
|
| Модель
|
Размеры, мм
| |||||||||
| Внутр.
диаметр привода, К | A | B | C | D | F | f | P1 | P2 | P3 | |
| ПК23-1-025х015 GBP | 25 | 95 | 45 | 25 | 14 | 32 | - | G½" | G⅛" | G⅛" |
| ПК23-1-025х020 GBP | 25 | 100 | 50 | 32 | 16 | 32 | - | G¾" | G⅛" | G⅛" |
| ПК23-1-032х025 GBP | 32 | 114 | 65 | 39 | 21 | 39 | - | G1" | G⅛" | G⅛" |
| ПК23-1-040х032 GBP | 40 | 147 | 73 | 48 | 26 | 47 | 5 | G1¼" | G⅛" | G⅛" |
| ПК23-1-050х040 GBP | 50 | 167 | 81 | 54 | 31 | 55 | 5 | G1½" | G⅛" | G⅛" |
| ПК23-1-063х050 GBP | 63 | 178 | 99 | 66 | 33 | 69 | 6 | G2" | G⅛" | G⅛" |
Версия: 2026-03-19-СДГ
| Документ | Дата обновления |
| Паспорт на ПК31-1 | 20.03.2026 |